Magna Concursos
2862054 Ano: 2022
Disciplina: Engenharia Mecânica
Banca: VUNESP
Orgão: DAE-Bauru
Provas:

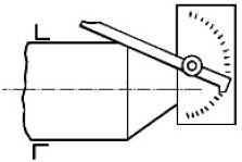
Observe a imagem a seguir.

Enunciado 3031076-1

Após tornear o cone externo utilizamos uma ferramenta para conferência do ângulo denominado de

 

Provas

Questão presente nas seguintes provas

Torneiro Mecânico

25 Questões