Julgue o item seguinte com relação a conceitos e princípios da mecânica dos sólidos.
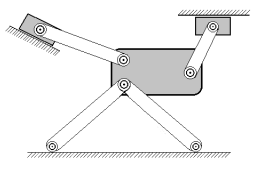
O mecanismo mostrado na figura a seguir, que contém uma junta dupla e dois cursores, possui dois graus de liberdade.

Julgue o item seguinte com relação a conceitos e princípios da mecânica dos sólidos.
O mecanismo mostrado na figura a seguir, que contém uma junta dupla e dois cursores, possui dois graus de liberdade.
