293766
Ano: 2008
Disciplina: Segurança Privada e Transportes
Banca: CESPE / CEBRASPE
Orgão: MPE-RR
Disciplina: Segurança Privada e Transportes
Banca: CESPE / CEBRASPE
Orgão: MPE-RR
Provas:

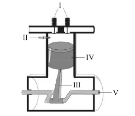
Na figura acima, é mostrada uma representação simplificada das principais partes de uma das unidades de um motor a combustão de quatro tempos que costuma equipar os veículos automotores. Com referência ao funcionamento desse tipo de motor, julgue os itens seguintes.
O combustível e o ar ingressam no motor através da peça II e, em contato com a faísca produzida na peça I, sofre combustão, produzindo, em seguida, um movimento circular da peça IV que é transmitido à peça III.