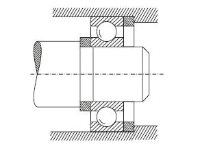
A figura abaixo mostra a extremidade de um eixo montado sobre um rolamento rígido de uma carreira de esferas.

Os anéis, colocados em ambos os lados do rolamento, têm como função
A figura abaixo mostra a extremidade de um eixo montado sobre um rolamento rígido de uma carreira de esferas.

Os anéis, colocados em ambos os lados do rolamento, têm como função