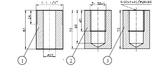
Observe os desenhos abaixo:

Os desenhos 1, 2 e 3 representam peças rosqueadas em corte. Sobre a leitura e interpretação desses desenhos, considere as seguintes afirmativas:
1. A peça 1 se trata de uma peça cilíndrica com furo de 22 mm e tem rosca Geométrica externa de 1 ½” de diâmetro externo.
2. A peça 2 é cilíndrica e tem uma rosca trapezoidal externa de 60 mm de comprimento e rosca interna de 30 mm de diâmetro interno com passo de 1 mm.
3. A peça 3 tem rosca trapezoidal interna de 30 mm de diâmetro, com passo de 1 mm, com comprimento de 40 mm, feita em um furo básico de 29 mm de diâmetro com 60 mm de comprimento.
4. As hachuras representadas nas 3 peças deveriam ser interrompidas na linha fina de representação da rosca, porque a linha fina representa o diâmetro externo da rosca.
Assinale a alternativa correta.