A figura a seguir apresenta um corpo de prova para a realização de um ensaio de tração a temperatura ambiente.

(Dimensões em mm; desenho fora de escala)
Nesse corpo de prova, o valor mínimo para a parte útil é de
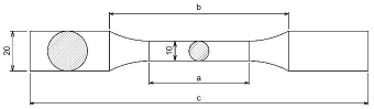
A figura a seguir apresenta um corpo de prova para a realização de um ensaio de tração a temperatura ambiente.

(Dimensões em mm; desenho fora de escala)
Nesse corpo de prova, o valor mínimo para a parte útil é de