
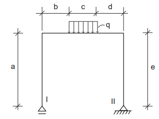
Onde:
• a; b; c; d; e: são comprimentos de trechos da estrutura, em metros
• b = d
• a = e
• I; II: são apoios
• q: é a carga distribuída em kN/m
• VI é a reação vertical no apoio I
• VII é a reação vertical no apoio II
• H2 é a reação horizontal no apoio II