Magna Concursos
Questões
Planos
Entrar
Entrar
Criar Conta
Respondida
1223712
Ano:
2011
Disciplina:
Engenharia Mecânica
Banca:
CESGRANRIO
Orgão:
CITEPE
Provas:
Mecânico Têxtil Pleno
Provas
×
Sistemas Mecânicos
Elementos de Máquinas
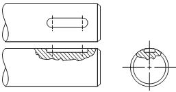
Existem diversos tipos de fixação entre eixos/árvores e cubos para transmissão de movimento de rotação. Muito utilizado em peças industriais, o tipo de fixação representado pela figura acima é o de
A
veio estriado
B
fixação poligonal
C
chaveta paralela
D
aperto a quente
E
aperto por cone
Resolver
Comentários
0
×
Cadernos
×
Flashcards
×
Estatísticas
×
Reportar um erro
×
Provas
Questão presente nas seguintes provas
Publicar
Responder
Qual o problema da questão?
Selecione uma opção
Questão Desatualizada
Questão Repetida
Gabarito Errado
Outros Motivos
Mensagem
Enviar
Acessar
Criar Conta
Acesse sua Conta
Google
Facebook
Esqueci minha senha
Acessar
Ainda não tem conta?
Crie uma
!
Crie uma Conta
Criar Conta
Olá, para continuar, precisamos criar uma conta!
É
rápido
e
grátis
.
Google
Facebook
Concordo com os
Termos de Uso
Criar
Já tem uma conta?
Acesse aqui