Magna Concursos
551179 Ano: 2018
Disciplina: Design Gráfico
Banca: FUNDEP
Orgão: EMATER-MG

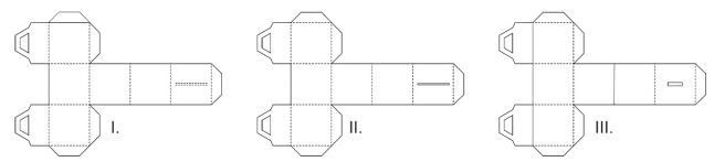
Considere a caixa montada.

enunciado 551179-1

Avalie se as figuras abaixo são planificações dessa caixa.

enunciado 551179-2

Contém planificação correta da caixa apenas o que está representado em

 

Provas

Questão presente nas seguintes provas

Assistente Técnico I - Designer Gráfico

60 Questões