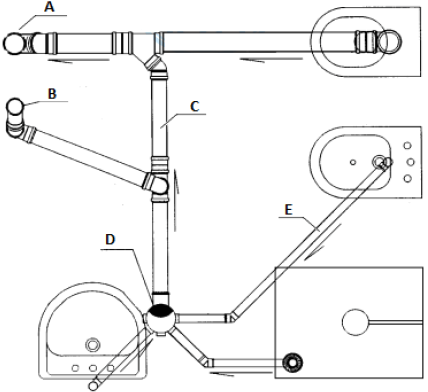
O desenho abaixo representa a instalação predial de esgoto sanitário de um banheiro. Nesse desenho estão indicados cinco componentes desse sistema, representado pelas letras A, B, C, D, E.

Figura: Instalação predial de esgoto sanitário de um banheiro.
Assinale a alternativa correta que define cada componente: