Magna Concursos
3250840 Ano: 2024
Disciplina: Radiologia
Banca: MS CONCURSOS
Orgão: Pref. Mirante Serra-RO
Provas:

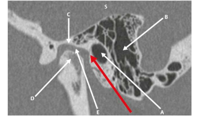
A orelha externa é a parte visível sendo composta pelo pavilhão auricular e pelo conduto auditivo externo, (CAE). O pavilhão auricular é composto por cartilagem, recoberto por pele e é responsável pela captação do som e seu direcionamento para o canal auditivo externo. Ilustração em janelamento ósseo auricular.

Enunciado 3250840-1

Fonte: Pauna, Henrique, F. et al. Avaliação do Osso Temporal por Imagem: Uma Abordagem Radiológica e Histológica., Thieme Brazil, 2024.

De acordo com a ilustração, assinale a alternativa incorreta.

 

Provas

Questão presente nas seguintes provas

Técnico de Radiologia

25 Questões