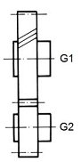
A Figura abaixo é a representação de um par de engrenagens em Desenho Técnico.

Constata-se que G1 e G2 são, respectivamente, engrenagens
Provas
Questão presente nas seguintes provas
Técnico - Inspeção de Equipamentos e Instalações
60 Questões