Magna Concursos
444486 Ano: 2013
Disciplina: Física
Banca: UFRN
Orgão: UFRN

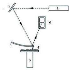
A figura a seguir representa um esquema de um microscópio de força atômica (AFM) moderno. Os números de 1 a 6 indicam os seus componentes.

Enunciado 444486-1

A opção na qual esses componentes estão corretamente classificados é:

 

Provas

Questão presente nas seguintes provas

Técnico de Laboratório - Microscopia

50 Questões