Magna Concursos
3576968 Ano: 2022
Disciplina: Engenharia Civil
Banca: Consulplan
Orgão: Pref. Macaíba-RN
Provas:

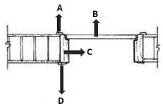
Observe a imagem a seguir:

Enunciado 3617954-1

A, B, C e D representam, em planta, os elementos de uma porta que são, respectivamente:

 

Provas

Questão presente nas seguintes provas

Fiscal - Urbanístico

50 Questões