- Arquitetura na Engenharia CivilCobertura
- EstruturasEstruturas de Madeira
- Resistência dos Materiais e Análise EstruturalEstabilidade de sistemas estruturais
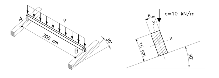
Considere a terça de uma cobertura em estrutura de madeira, biapoiada em A e B, submetida a um carregamento distribuído que passa pelo centroide de sua seção retangular 6x15 cm2, conforme figuras a seguir. Determine a tensão de flexão máxima absoluta na seção transversal da terça, adotando √3 ≈ 1,7.
