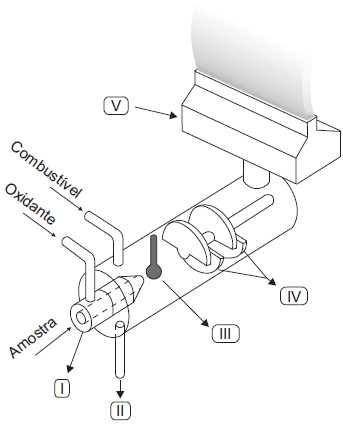
Observe o diagrama esquemático abaixo representando um dispositivo de nebulização e queima por mistura prévia, usado em espectroscopia de absorção atômica. Relacione as partes do esquema apresentado com os nomes dos dispositivos indicados a seguir.

HARRIS, D. C. Análise Química Quantitativa, 7 ed. Rio de Janeiro: LTC, 2008. (Adaptado)
P – Cabeçote do Queimador
Q – Defletores (flow spoiler)
R – Dreno
S – Nebulizador
T – Pérola de Impacto
Estão corretas as associações
Provas
Questão presente nas seguintes provas
Técnico Químico Júnior
50 Questões
Técnico Químico Pleno
50 Questões