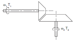
A transmissão de movimento entre dois eixos perpendiculares entre si é realizada por meio de um par de engrenagens cônicas, conforme mostrado na Figura abaixo.
Sabendo-se que quando o eixo 1 gira a 1.000 RPM, o eixo 2 gira a 800 RPM, a relação entre o torque no eixo 1 e o torque no eixo 2 (T1/T2) será
Sabendo-se que quando o eixo 1 gira a 1.000 RPM, o eixo 2 gira a 800 RPM, a relação entre o torque no eixo 1 e o torque no eixo 2 (T1/T2) será