
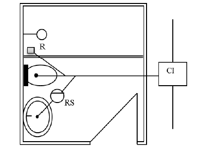
A figura acima ilustra a instalação sanitária de um banheiro com chuveiro, vaso sanitário com caixa acoplada e lavatório. Na figura, também estão representados um ralo seco (R), um ralo sifonado (RS) e uma caixa de inspeção (CI). Considerando que as ligações das tubulações estão a um ângulo de 45°, julgue os itens subsequentes.
Provas
Questão presente nas seguintes provas