Analise a figura abaixo:

Assinale a alternativa que indica corretamente o momento gerado pela força F com relação ao ponto O na figura.
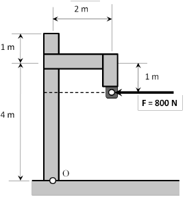
Analise a figura abaixo:

Assinale a alternativa que indica corretamente o momento gerado pela força F com relação ao ponto O na figura.