Acerca de máquinas elétricas de corrente contínua (CC), julgue o próximo item.
As figuras I e II a seguir ilustram o circuito equivalente de uma máquina CC com campo separado e com campo paralelo, respectivamente.

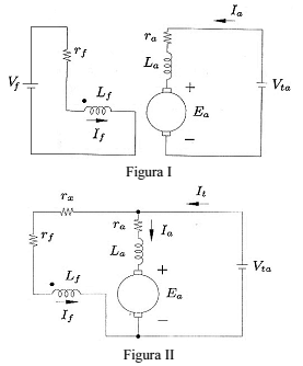
Acerca de máquinas elétricas de corrente contínua (CC), julgue o próximo item.
As figuras I e II a seguir ilustram o circuito equivalente de uma máquina CC com campo separado e com campo paralelo, respectivamente.
