Para responder a questão, considere as siglas a seguir.
EAS – Estabelecimento Assistencial de Saúde.
PBA – Projeto Básico de Arquitetura.
RDC 50 – Resolução Anvisa RDC nº 50, de 21/02/2002, que dispõe sobre o Regulamento Técnico para planejamento, programação, elaboração e avaliação de projetos físicos de estabelecimentos assistenciais de saúde.
Portaria 840/07 – Portaria Funasa nº 840, de 15/08/2007, que estabelece as diretrizes para projetos físicos de estabelecimentos de saúde para povos indígenas.
NBR 9050 – Norma ABNT NBR 9050/2004, atualizada em 2005, de acessibilidade a edificações, mobiliário, espaços e equipamentos urbanos.
NBR 6492 – Norma ABNT NBR 6492/1994, de representação de projetos de arquitetura.
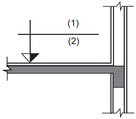
Considere NA = nível acabado, NF = nível final, NO = nível em osso, NP = nível do pavimento e a simbologia a seguir, que indica as cotas de nível em uma planta de corte.

NBR 6492/1994. (Adaptado)
De acordo com a NBR 6492, essas cotas devem ser medidas em metros e representadas de forma que em (1) e (2) estejam indicadas, respectivamente,