Em uma aula de Ciências, o professor escreveu no quadro a seguinte frase:
Preguiças que se alimentam de folhas de embaúbas apresentam pulgas que, por sua vez são parasitadas por protozoários.
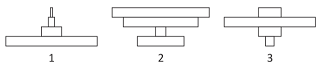
Abaixo da frase, desenhou as três pirâmides ecológicas a seguir, simbolicamente relacionadas à cadeia alimentar incluída na frase,

Seus alunos, após compararem as pirâmides com a cadeia alimentar contida na frase, chegaram às seguintes conclusões:
I. a pirâmide 1 corresponde à pirâmide de biomassa;
II. a pirâmide 2 corresponde à pirâmide de números; e
III. a pirâmide 3 não tem correspondência com os seres da cadeia.
Está correto o que se afirma em