
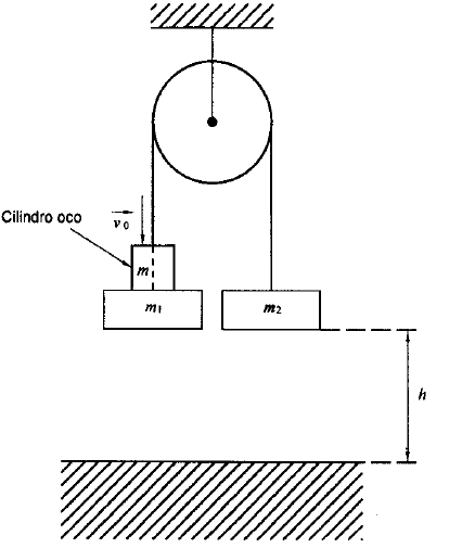
A figura acima apresenta duas massas mt = 5 kg e m2 = 20 kg presas por um fio que passa por uma roldana. As massas são abandonadas a partir do repouso, ambas a altura h do solo, no exato instante em que um cilindro oco de massa m = 5 kg atinge m1 com velocidade v = 36 m/s, ficando ambas coladas. Determine a altura h, em metros, para que m1 chegue ao solo com velocidade nula.
Dado:
!$ \bullet !$ Aceleração da gravidade: g = 10 m/s2
Observação:
!$ \bullet !$ A roldana e o fio são ideais.