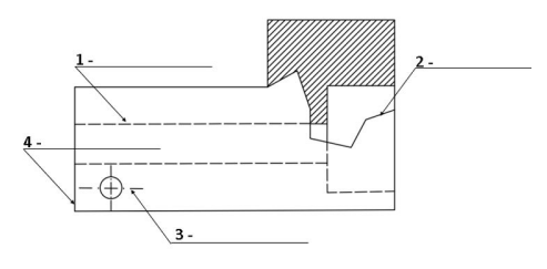
Analise o desenho técnico a seguir.
Em relação ao desenho técnico, assinale a alternativa correta.
1 – Linha de contorno visível;
2 – Linha de corte;
3 – Linha de simetria;
4 – Linha de aresta.
1 – Linha tracejada;
2 – Linha ziguezague;
3 – Linha de centro;
4 – Linha cheia de contorno.
1 – Linha de contorno não visível;
2 – Linha de ruptura de corte parcial;
4 – Linha de contorno visível.
1 – Linha traceja de contorno não visível;
2 – Linha de ruptura de meio corte;
Olá, para continuar, precisamos criar uma conta! É rápido e grátis.