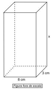
Um bloco de plástico maciço tem o formato de um prisma
de base retangular, conforme mostra a figura.

Cada 1 cm3 desse plástico tem 1,4 g de massa. Se a massa total desse bloco é 504 g, então a altura dele, indicada na figura pela letra x, é igual a

Cada 1 cm3 desse plástico tem 1,4 g de massa. Se a massa total desse bloco é 504 g, então a altura dele, indicada na figura pela letra x, é igual a
Provas
Questão presente nas seguintes provas