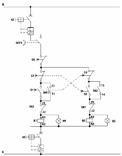
O diagrama da figura corresponde ao circuito de comando para efetuar a reversão de rotação em motores trifásicos utilizando os contatores K1 e K2.
Com base no diagrama, considere as afirmativas:

I- S0 é uma botoeira do tipo NF. Quando pressionada fará o desligamento do motor.
II- Pressionando-se S1 e S2 ao mesmo tempo, os contatores K1 e K2 serão acionados concomitantemente.
III- O contato do relé térmico SFT1 é do tipo NA.
IV- A retirada de H1 e H2 não afeta o funcionamento do circuito.
Está CORRETA ou estão CORRETAS: