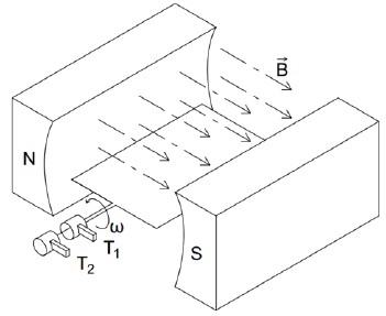
Uma força eletromotriz de 2,5 !$ V !$ (eficaz) é gerada entre os terminais T1 e T2 de uma espira de área 0,2 !$ m^2 !$ quando ela está imersa e gira com velocidade constante !$ ω !$ em uma região de campo magnético constante, conforme ilustrado na figura a seguir.

Considere que a densidade de fluxo magnético é 0,05 T. A velocidade angular da espira é de, aproximadamente,