
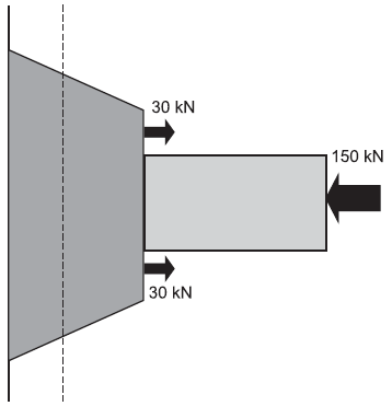
A figura acima representa uma barra em formato de tronco de cone conectado a uma barra cilíndrica, que está submetida a uma compressão de 150 kN na base do cilindro, e também a dois esforços de tração de módulos 30 kN.
Qual a tensão em um ponto de uma seção paralela às bases do tronco, indicada pela linha pontilhada no desenho, sabendo que o raio dessa seção é 30 mm?