
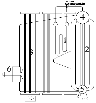
O desenho esquemático acima retrata uma caldeira aquatubular, de alta pressão, que foi montada em uma unidade de craqueamento de petróleo. Nesse desenho estão assinaladas as várias partes que foram erigidas, por ocasião da montagem. No contexto dessa montagem, julgue o item a seguir.
A legenda 3 assinala os tubos da parede de água lateral (lateral wall)