Observe o circuito

Três sinais de áudio acionam as entradas do amplificador somador da figura acima. Qual é a tensão de saída Vo?
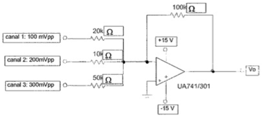
Observe o circuito

Três sinais de áudio acionam as entradas do amplificador somador da figura acima. Qual é a tensão de saída Vo?