Magna Concursos
4024028 Ano: 2026
Disciplina: Engenharia Mecatrônica
Banca: FGV
Orgão: AMAZUL
Provas:
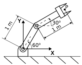
Na área da Robótica, a cinemática direta consiste na mudança da representação da posição do manipulador de uma descrição no espaço de juntas para uma descrição no espaço cartesiano. Na figura a seguir é mostrado um manipulador robótico planar do tipo RR.

Enunciado 4506422-1

Considerando que os elos móveis possuem comprimentos iguais a 1 m, obtenha a cinemática direta, ou seja, a posição do efetuador, ponto P, em coordenadas cartesianas para o instante mostrado na figura.
 

Provas

Questão presente nas seguintes provas

Engenheiro Mecatrônico

60 Questões