Magna Concursos

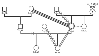
Analise a imagem a seguir.

Enunciado 4932982-1

A partir do genograma apresentado acima, conclui-se que

 

Provas

Questão presente nas seguintes provas