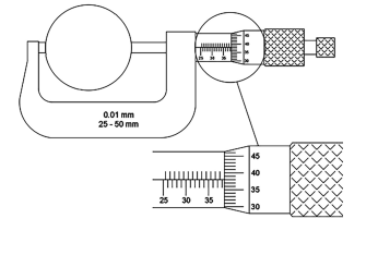
Um eixo de diâmetro nominal 38 mm está passando por uma inspeção de qualidade e seu diâmetro é
verificado por meio de um micrômetro conforme a figura a seguir. A leitura do instrumento pode ser
visualizada abaixo. Assinale a alternativa que indica a diferença entre o diâmetro nominal e a medida
realizada.

