Magna Concursos
3685471 Ano: 2025
Disciplina: Engenharia Elétrica
Banca: FUVEST
Orgão: USP
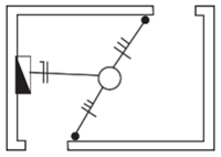
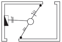
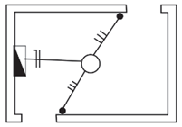
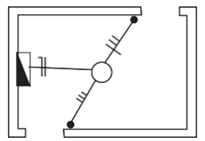
Observe a figura a seguir:
Enunciado 3685471-1

Assinale o esquema da planta baixa que corresponde ao circuito da figura apresentada.
 

Provas

Questão presente nas seguintes provas

Engenheiro Eletricista - Sistemas Elétricos

60 Questões