Magna Concursos
3699234 Ano: 2025
Disciplina: Radiologia
Banca: IDECAN
Orgão: SESAP-RN
Provas:
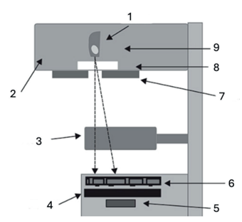
A mamografia é uma forma particular de radiografia que trabalha com níveis de radiação entre intervalos específicos com a finalidade de registrar imagens da mama para diagnosticar a eventual presença de estruturas que indiquem uma doença, com especial importância para o câncer.

O conhecimento sobre o mamógrafo é imprescindível para a realização de tal exame. De acordo com o assunto, analise a imagem abaixo e, posteriormente, assinale o item que consta o número correspondente a localização correta do chassi.
Enunciado 4449857-1
Fonte:CAMARGO, Renato; CAMPOS, Alessandra Pacini de. Ultrassonografia, Mamografia e Densitometria óssea. Rio de Janeiro: Érica, 2015. E-book. p.20.
 

Provas

Questão presente nas seguintes provas

Técnico de Radiologia

60 Questões