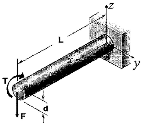
Examine a figura abaixo.

Conforme apresentado na figura, uma barra maciça de diâmetro “d” e comprimento “L" encontra-se engastada em uma de suas extremidades. Na outra extremidade atuam uma força “F" no sentido “-Z” e um momento T de intensidade T = F.L/2 em torno do eixo \( \chi \), Despreze efeitos de concentração de tensão e assinale a opção que apresenta a expressão correta para o cálculo da tensão principal máxima atuante nessa barra.
Dado: \( I = \dfrac{\pi d^4}{64}; J=\dfrac{\pi d^4}{32} \)