Magna Concursos
3888127 Ano: 2025
Disciplina: Edificações
Banca: FURB
Orgão: Pref. Biguaçu-SC
Provas:

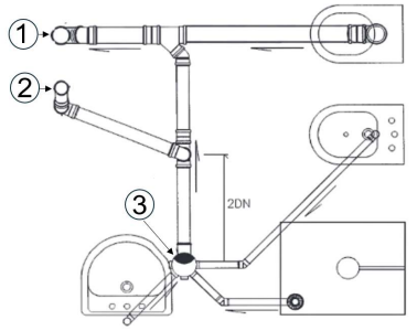
Analise o desenho de projeto hidrossanitário a seguir:

Enunciado 4662459-1

Assinale a alternativa correta:

 

Provas

Questão presente nas seguintes provas

Técnico de Edificações

40 Questões