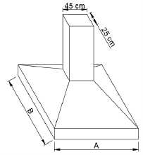
Na elaboração de um pré-dimensionamento de uma sapata isolada trapezoidal da fundação de uma obra residencial, a sapata recebe carga centrada de um pilar de 45 cm por 25 cm, lado A e B, respectivamente, conforme ilustração. Considere a carga para pré-dimensionamento de 350 kN e a tensão admissível do solo de 350 kN.m-2. Considere uma sapata retangular, desconsidere qualquer outra carga adicional.
As dimensões mínimas em planta da sapata arredondadas para múltiplos de 5 cm, para o lado A e B são, respectivamente:
