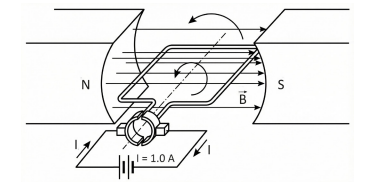
Em uma atividade experimental de Engenharia no Laboratório de Física, os alunos analisam o funcionamento de um protótipo simplificado de motor de corrente contínua. O dispositivo consiste em uma espira retangular rígida, de dimensões
10,0 cm x 20,0 cm, percorrida por uma corrente elétrica contínua de intensidade I = 1,00 A. A espira está imersa em uma
região de campo magnético uniforme
, conforme mostra a Figura a seguir.
O motor é posto a girar com velocidade angular constante em torno de um eixo que passa pelo centro da espira e é perpendicular às linhas do campo magnético. Durante o funcionamento, um sensor de torque localizado no próprio eixo de
rotação registra a intensidade do torque do binário de forças magnéticas. O gráfico a seguir representa a intensidade desse
torque exercido sobre a espira em função do tempo (t).
Com base nos dados fornecidos e na análise do gráfico, o valor da intensidade do campo magnético
é, em T,
O motor é posto a girar com velocidade angular constante em torno de um eixo que passa pelo centro da espira e é perpendicular às linhas do campo magnético. Durante o funcionamento, um sensor de torque localizado no próprio eixo de
rotação registra a intensidade do torque do binário de forças magnéticas. O gráfico a seguir representa a intensidade desse
torque exercido sobre a espira em função do tempo (t).
Com base nos dados fornecidos e na análise do gráfico, o valor da intensidade do campo magnético