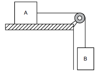
Os blocos representados na figura a seguir estão em repouso. O bloco A, sobre a mesa, tem massa igual a 20 kg e está conectado ao bloco B, suspenso, de massa igual a 7 kg. O fio que conecta os blocos é inextensível. A massa do bloco B corresponde à massa máxima para manter esses blocos em equilíbrio. Adote g = 10 m/s2.

Com base nessas informações, assinale a alternativa correta.