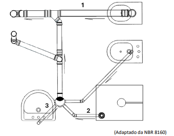
A figura a seguir apresenta, de forma esquemática, a instalação
hidrossanitária de um banheiro.
Nessa instalação, os diâmetros mínimos para os ramais de descarga 1 (desconsiderando cálculo pelo método hidráulico), 2 e 3, valem, respectivamente,
Nessa instalação, os diâmetros mínimos para os ramais de descarga 1 (desconsiderando cálculo pelo método hidráulico), 2 e 3, valem, respectivamente,
Provas
Questão presente nas seguintes provas
Auditor Estadual de Controle - Obras e Concessões
120 Questões