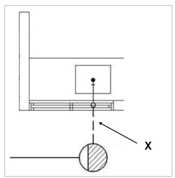
A figura a seguir apresenta parte da instalação de esgoto sanitário de uma edificação.

O diâmetro mínimo do ramal indicado por X é:
A figura a seguir apresenta parte da instalação de esgoto sanitário de uma edificação.

O diâmetro mínimo do ramal indicado por X é: