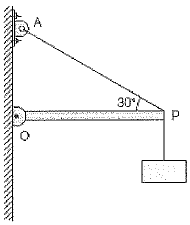
Observe a figura a seguir.

Na figura acima, a barra OP, homogênea e de secção reta e uniforme, de 77,57 cm de comprimento e peso 80 N, pode girar livremente em torno de O. Ela sustenta, na extremidade P, um corpo de peso 110N. A barra é mantida em equilíbrio, em posição horizontal, pelo fio de sustentação PQ. Qual é o valor da força de tração no fio?