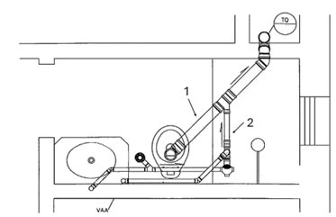
A figura a seguir apresenta parte da instalação hidrossanitária de
uma edificação de um pavimento.
Desconsiderando a possibilidade de cálculo para redução de seus diâmetros, os ramais indicados com os números 1 e 2 têm diâmetro mínimo, respectivamente, de
Desconsiderando a possibilidade de cálculo para redução de seus diâmetros, os ramais indicados com os números 1 e 2 têm diâmetro mínimo, respectivamente, de
Provas
Questão presente nas seguintes provas