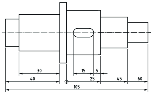
Observe o método de cotagem aplicado na peça a seguir.

(Adaptada de NBR 17068)
Nele, combinam-se os métodos de cotagem conhecidos como cotagem
Observe o método de cotagem aplicado na peça a seguir.

(Adaptada de NBR 17068)
Nele, combinam-se os métodos de cotagem conhecidos como cotagem