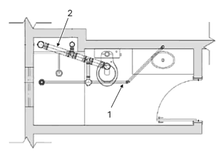
Parte da planta de instalações hidrossanitárias de uma residência
unifamiliar é apresentada na figura a seguir.
(Adaptado de https://blog.telhanorte.com.br/como-fazer-a-hidraulica-do-banheiropasso-a-passo/)
Os diâmetros das tubulações 1 e 2, desconsiderando qualquer cálculo para dimensionamento específico, valem, respectivamente
(Adaptado de https://blog.telhanorte.com.br/como-fazer-a-hidraulica-do-banheiropasso-a-passo/)
Os diâmetros das tubulações 1 e 2, desconsiderando qualquer cálculo para dimensionamento específico, valem, respectivamente