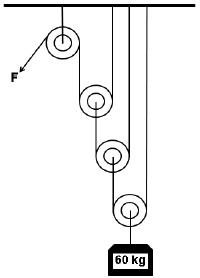
Um exercício de treinamento de salvamento consiste em erguer uma pessoa utilizando cordas e roldanas ideais, como indicado na figura abaixo.

Considere a aceleração da gravidade local igual a 10 m/s2 e assinale a alternativa que apresenta valor da força F constante que deve ser realizado na extremidade da corda para que o corpo de 60kg seja erguido com uma aceleração constante de 0,2 m/s2.