Magna Concursos
3707466 Ano: 2010
Disciplina: Arquitetura
Banca: Ferreira de Moura
Orgão: UFERSA
Provas:

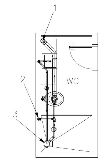
Projeto hidrossánitario de um banheiro residencial no pavimento superior.

Enunciado 3903903-1

 

Provas

Questão presente nas seguintes provas

Arquiteto

45 Questões