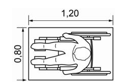
Ao desenvolver um projeto arquitetônico, o projetista deve tomar como referência a norma técnica brasileira ABNT NBR 9050:2020 para atender aos requisitos de acessibilidade. Segundo essa norma, o Módulo de Referência (MR) de uma pessoa em cadeira de rodas, na vista superior, possui as dimensões de 800 mm x 1 200 mm, conforme ilustrado nas figuras 1 e 2, a seguir.
Figura 1: Vista superior das dimensões do M.R.

Fonte: NBR 9050:2020.
Figura 2: Vista frontal de uma pessoa em cadeira de rodas.

Fonte: NBR 9050:2020.
Para a largura de deslocamento em linha reta de uma pessoa em cadeira de rodas, conforme a Figura 2, deve-se adotar, pelo menos,