Foram encontradas 1.172 questões.

A dureza em HRC e a resistência à tração para o ciclo térmico são, respectivamente:
Provas
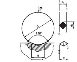
Na Figura 5, apresentam-se duas impressões de dureza (macrodureza) na superfície polida do aço ABNT 4140 temperado e revenido (285 HB). Abaixo, encontra-se o perfil de uma seção reta nesta região. Pergunta-se: a) Calcule a diagonal da impressão, a partir da conversão na Tabela da Figura 5 abaixo, sabendo que a carga utilizada na dureza Vickers foi de 30 kgf.
HV = 1,854 P/d2
Figura 5: Desenho esquemático dos ensaios Brinell e Vickers.

Tabela 2: Conversão de Dureza Rockwell ( C; A; D) ; Vickers ; Shore e Brinell com diâmetro do indentador de 10 mm.

A relação de carga e a dureza Brinell do eixo são, respectivamente:
Provas

Observações:
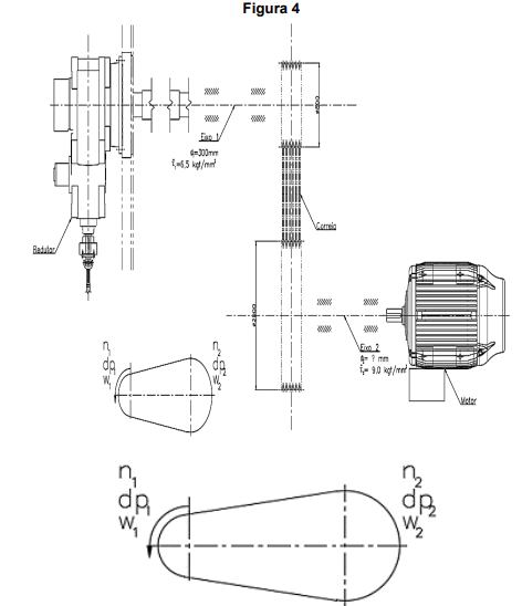
1- Considere o cálculo do eixo à torção. 2- ⌀: Diâmetros, T: Torque e τ:Tensões de Cisalhamento são variáveis. 3- Considere η:100%.
Provas
Provas

A alternativa que apresenta o valor mais próximo da razão do coeficiente de desempenho do ciclo de refrigeração pelo coeficiente de desempenho de um ciclo de refrigeração de Carnot, operando entre os mesmos meios, é:
Provas

Provas
Provas
Provas
Provas
O ensaio de cisalhamento consiste na aplicação de uma força perpendicular ao eixo longitudinal do corpo. Essa força aplicada no plano da seção transversal é chamada de cortante (Figura 1). Reagindo a essa força, o material desenvolve em sua seção transversal uma resistência ao cisalhamento. É exatamente essa resistência que pode ser determinada através do presente ensaio, simultaneamente à medição da deformação sofrida pelo eixo. Considere que o ensaio forneceu uma tensão de cisalhamento para fratura de 100 GPa, sabendo que o diâmetro do corpo de prova é de 10 mm.
Assinale a alternativa que MELHOR indica a força suportada pelo corpo de prova.

Provas
Caderno Container